0
Skip to Content
Clario airway verification system
HOME
ABOUT
STEALTH
CONTACT
Open Menu
Close Menu
Clario airway verification system
HOME
ABOUT
STEALTH
CONTACT
Open Menu
Close Menu
HOME
ABOUT
STEALTH
CONTACT
SNEAK PEEK
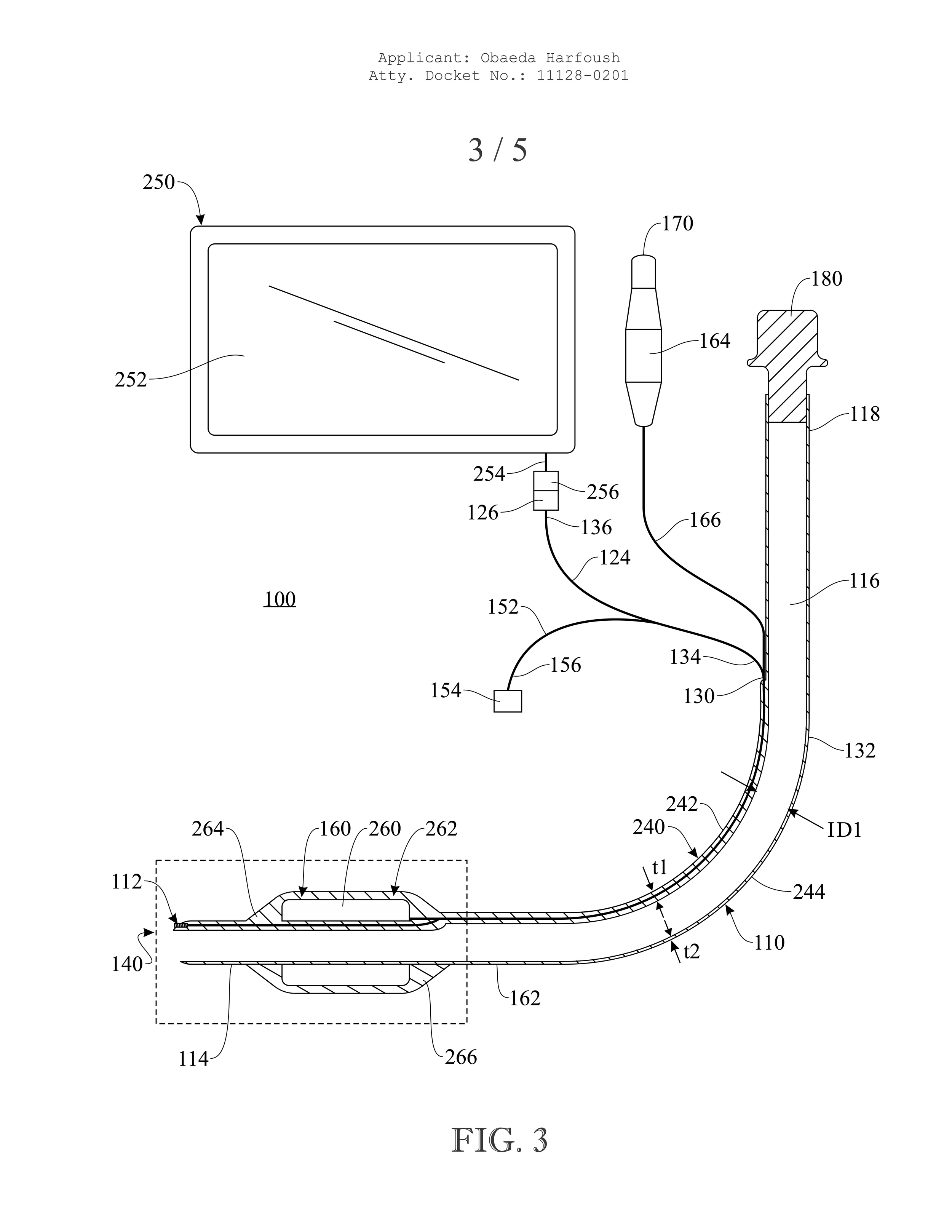
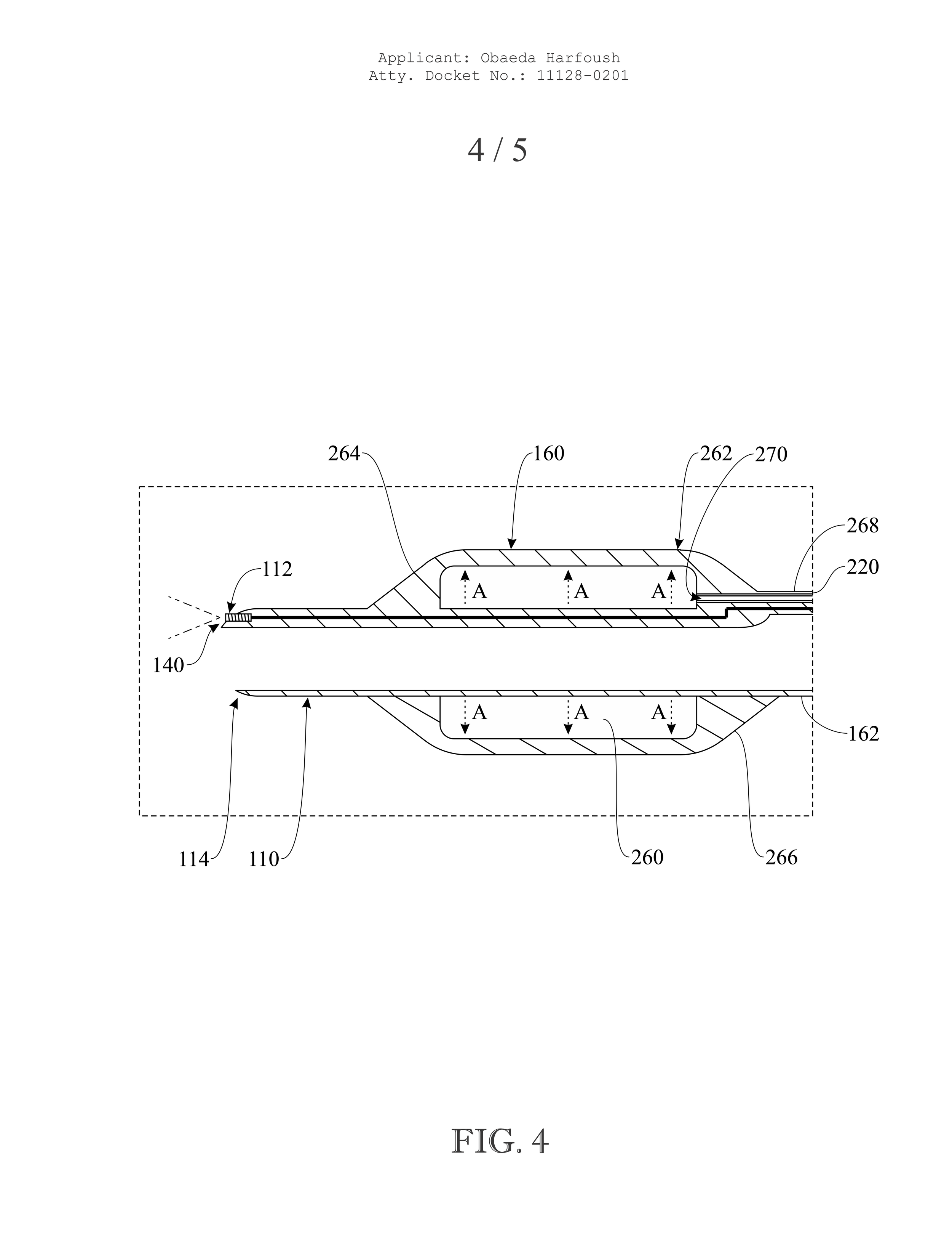
non-provisional patent.